Apple được cấp bản quyền thiết bị giống Google Glass
 
Apple được cấp bản quyền thiết bị giống Google Glass 
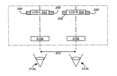
Một trong những hình ảnh mô tả hoạt động của thiết bị Apple.
 
Kính tương tác Project Glass đang gây ồn ào thời gian gần đây, nhưng Apple cũng đã nghĩ đến việc phát triển thiết bị đeo trên cơ thể từ lâu. Đơn đăng ký của Apple được nộp cách đây gần 6 năm (ngày 13/10/2006) mô tả về thiết bị giống như một màn hình cá nhân (head-mounted display) có khả năng "nhận, xử lý dữ liệu để hiển thị hình ảnh trên màn hình đeo trước mắt người sử dụng", rất giống cách hoạt động của Google Glass.
Về cơ bản, thiết bị sẽ có 1 hoặc 2 màn hình LCD để chiếu hình ảnh tới mắt. Nó có thể giống như Sony Head Mounted Display HMZ-T1 với hai mắt kính chỉ 0,7 inch nhưng chiếu hình ảnh 3D để người xem có cảm giác đang quan sát trên màn hình 750 inch đang lơ lửng cách xa 20 mét.
 
Apple được cấp bản quyền thiết bị giống Google Glass 
Sony Head Mounted Display.
 
Từ năm 2011, tạp chí New York Times đưa tin Apple đang triển khai dự án "máy tính qua các thiết bị có thể đeo trên cơ thể". "Quả táo" đã thuê một chuyên gia về lĩnh vực này năm 2010 và nộp một số đơn xin cấp bản quyền khác vào năm 2008 nhưng vẫn đang trong thời gian xét duyệt.
 
Trần Thăng 

Apple được cấp bản quyền thiết bị giống Google Glass

09/07/2012 - Tin công nghệ
Ngày 3/7, Apple được trao Ủy ban bản quyền Mỹ cấp bằng cho một thiết bị đeo trên mắt có khả năng hiển thị hình ảnh trên màn hình cá nhân.
 
Apple được cấp bản quyền thiết bị giống Google Glass 
Một trong những hình ảnh mô tả hoạt động của thiết bị Apple.
 
Kính tương tác Project Glass đang gây ồn ào thời gian gần đây, nhưng Apple cũng đã nghĩ đến việc phát triển thiết bị đeo trên cơ thể từ lâu. Đơn đăng ký của Apple được nộp cách đây gần 6 năm (ngày 13/10/2006) mô tả về thiết bị giống như một màn hình cá nhân (head-mounted display) có khả năng "nhận, xử lý dữ liệu để hiển thị hình ảnh trên màn hình đeo trước mắt người sử dụng", rất giống cách hoạt động của Google Glass.
Về cơ bản, thiết bị sẽ có 1 hoặc 2 màn hình LCD để chiếu hình ảnh tới mắt. Nó có thể giống như Sony Head Mounted Display HMZ-T1 với hai mắt kính chỉ 0,7 inch nhưng chiếu hình ảnh 3D để người xem có cảm giác đang quan sát trên màn hình 750 inch đang lơ lửng cách xa 20 mét.
 
Apple được cấp bản quyền thiết bị giống Google Glass 
Sony Head Mounted Display.
 
Từ năm 2011, tạp chí New York Times đưa tin Apple đang triển khai dự án "máy tính qua các thiết bị có thể đeo trên cơ thể". "Quả táo" đã thuê một chuyên gia về lĩnh vực này năm 2010 và nộp một số đơn xin cấp bản quyền khác vào năm 2008 nhưng vẫn đang trong thời gian xét duyệt.
 
Trần Thăng 

Đánh giá - Bình luận
Nhấn vào đây để đánh giá
X
Đặt lịch hẹn sửa chữa
Hãy đặt lịch trước để chúng tôi phục vụ bạn tốt hơn
Liên hệ tổng đài 1800 6024 - Hoặc 085 245 3366 để được đặt lịch.
X
Tra cứu bảo hành
Dễ dàng theo dõi tình trạng bảo hành máy của bạn
Tra cứu thông tin bảo hành

Nhập thông tin bảo hành

Đặt lịch

0.27814 sec| 1467.844 kb